Paso 4: ¡ Hágase la luz (soldadura para arriba)










Herramientas: soldador, soldadura, pegamento estupendo
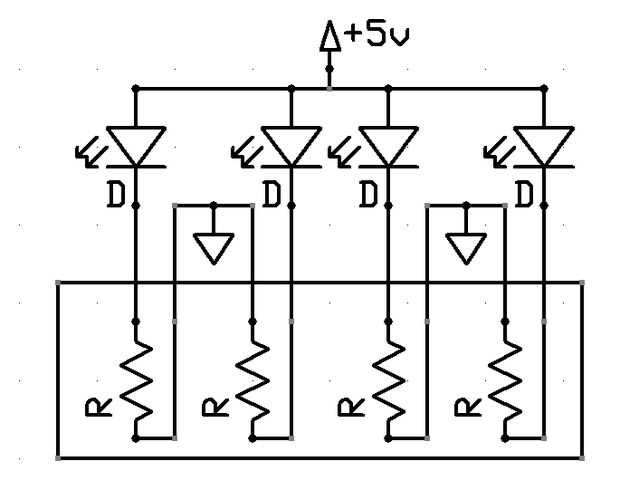
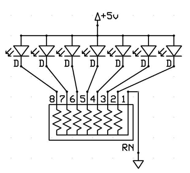
Llene todos los agujeros de 28 en la parte inferior de la lata que perforan para los LEDs con los LEDs. Utilice un poco de pegamento para mantener los LEDs en su lugar. He intentado mantener los ánodos y los cátodos del mismo lado para hacer cables de soldadura más fácil (alambre largo de cable lateral, corto en el otro). Una vez que todos los LEDs en su lugar, puede empezar a doblar los cables en su lugar. Todos los plomos de LED larga curva en filas encima de cada uno de ellos. Esto creará la alimentación positiva. Cada uno los cables cortos va soldados a una resistencia de 100 ohm. Todas las resistencias de 100 ohmios se sueldan juntos en un carril de tierra. Básicamente, este hace una "red de resistencia". Era más barato comprar un bulto de las redes de la resistencia de resistores individuales. Por lo tanto, he utilizado redes de resistencia. Posteriores a la vista; el lote de las redes de resistencia fue aislada resistencia redes (8pin - 4 resistores). Funcionó, pero tuve que usar 7 en vez de 4 y no simplifique la soldadura como quería. Asegúrese de que el ánodo y el cátodo no se cruzan y no toquen la carcasa de aluminio. Esto puede causar un cortocircuito.
Usando los cables del cable USB, suelde el cable negro (masa) con el carril de tierra. Si es necesario, utilice un multímetro para encontrar los pins en su conmutador (no es necesario, si sólo tienes a pernos). Usé un medidor para asegurarse de que, puesto que quería encima de y abajo / apagado. Suelde el cable rojo (+ 5v) desde el cable USB para el interruptor y otro cable desde el otro perno del interruptor al riel positivo.
Toma una respiración profunda, cruzar los dedos y conecte el cable USB a un cargador de pared (cargador de teléfono celular). El interruptor de la prueba y el LED debe encender y apagar. Asegúrese de que el sistema eléctrico está funcionando antes de proceder. Electrónica trabaja con humo, magia si el humo se escapa entonces que ya no funciona. lol.
Nota:
Del cuadro, se puede decir que el color de la "M" no es del mismo color amarillo verdoso utilizado en el resto de la lata. Vista trasera, yo habría utilizado LEDs de UV con el resplandor en el oscuro poder.