Paso 4: El tercer interruptor (mi favorito) - el plan de

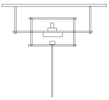
Básicamente, quería una placa con un interruptor montado en él y al recinto, éste no se moverá. Por encima de este es otro plato, con su centro alineado con el interruptor.
Esta placa se conecta mediante cuatro varillas a una placa debajo del interruptor, que a su vez está atada a una cuerda. Las placas superiores e inferior se unen para que sean completamente rígidos.
Esto significa que puede tirar en la placa inferior y descienden dos placas, la placa superior pulsando el interruptor.
Idealmente, las placas no inclinar hacia los lados, pero no hay garantía. Un resorte en cada esquina ayudará a minimizar la probabilidad de que la placa se vuelque hacia un lado.













