Carpeta de cartón (2 / 5 paso)

Paso 2: Crear la plantilla

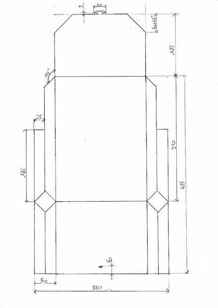
En primer lugar desplegar la caja de cartón, a continuación, cortar el cartón en las medidas de derecho. Puedes encontrar las medidas en el dibujo técnico. Corte contra una regla para asegurarse de que los cortes son rectos!

Artículos Relacionados

Carpeta de cartón de Tetra Pak jugo

Carpeta de cartón de Tetra Pak jugo

después de mi primer monedero de Tetra Pak Instructable hechas de cartones de leche, he probado diferentes métodos de plegado, monedas alternativas y diferentes cartones de Tetra Pak. La caja más común especialmente en los Estados Unidos y Canadá es
Cómo hacer una camiseta-carpeta de cartón

Cómo hacer una camiseta-carpeta de cartón

me compras en una tienda el otro día cuando vi a uno de los empleados de tiendas con un FlipFold doblar las camisetas de tiendas. Miré el producto, pensando sobre lo sencillo que era pero tan eficiente para alguien como yo que no le gusta lavar la ro
Cómo imprimir el cartón de Google 2015

Cómo imprimir el cartón de Google 2015

Si te gusta Google gafas cartón VR usted puede haber notado que salían con una nueva versión hace unos meses. Supuestamente es más fácil de usar, tiene un pulsador conductor basado en la tira en lugar del clicker de imán y puede también teléfonos de
Convertido en Tony Stark: Configuración de realidad Virtual móvil con movimiento de salto

Convertido en Tony Stark: Configuración de realidad Virtual móvil con movimiento de salto

¿Cuántos de ustedes han querido usar sus manos y mire a su alrededor naturalmente sin tener que utilizar el ratón, el teclado y la pantalla? Bueno, hoy voy a mostrar cómo utilizar un teléfono, leap motion, y gafas de Realidad Virtual para crear su pr
REVISTA bricolaje cuero

REVISTA bricolaje cuero

Hice este diario con pequeño a la izquierda sobre trozos de papel y cuero reciclados.Es una versión más simple de una revista, sin necesidad de herramientas muy específicas.Paso 1: Lo que usted necesita MATERIAL:-a la izquierda sobre papel;-cartulina
Realidad virtual para Dummies - TfCD (tecnología para el diseño de concepto)

Realidad virtual para Dummies - TfCD (tecnología para el diseño de concepto)

Las nuevas tecnologías hacen posible experimentar un mundo virtual en 3D. Esto se puede hacer con un Oculus Rift pero también con su propio smartphone, usando una cartulina de Google. Normalmente necesita mucho conocimientos y algunas habilidades de
Capcom juego de tarjeta en Python basado en

Capcom juego de tarjeta en Python basado en

En este proyecto vamos a hacer una tarjeta de juego de Capcom basado usando Python y Pygame (yo lo llamo 'Capcom VS Capcom'). Es muy fácil y puedes hacerlo en 2 horas y media.En Capcom VS Capcom, tiene 23 cartas diferentes con motivo de diferentes at
Enfriar Hipster PDA-Like organizador

Enfriar Hipster PDA-Like organizador

esto es como un hipster PDA, pero mejor!. Es más durable, resistente y fácil de reemplazar.ES NECESARIO:Tantas fichas como desee páginas.Dos pedazos de cartón, lo suficientemente delgado como para cortar fácilmente (consulte el paso 2 para obtener in
COCHE de motor de CD

COCHE de motor de CD

/ * definiciones de estilos * / tabla. MsoNormalTable {mso-estilo-name: "Tabla Normal"; mso-tstyle-rowband-tamaño: 0; mso-tstyle-colband-tamaño: 0; mso-estilo-noshow:yes; mso-estilo-prioridad: 99; mso-estilo-qformat:yes; mso-estilo-parent: "
Cojín de ratón de DeadPool personalizado

Cojín de ratón de DeadPool personalizado

nunca pensó su espacio de trabajo o área de la computadora fue a dul bien personalizado con estos pocos pasos sencillos. Desde que pensé en mi zona era aburrido personalizado mi cojín de ratón poniendo el logo de mi villano favorito de super DeadPool
Magia: La reunión caja con bandeja de tarjeta del corte del laser y divisores.

Magia: La reunión caja con bandeja de tarjeta del corte del laser y divisores.

Mi magia: La colección encuentro ha crecido exponencialmente recientemente así que pensé que era hora de arreglar algún almacenamiento agradable para mis tarjetas. Quería alejarse las cajas de grasa paquete viejo en el armario algo más presentable.Pa
Reflector de Radar ligero

Reflector de Radar ligero

¿Qué son reflectores de radar?Reflectores de radar son dispositivos simples que se utilizan para hacer algo más visible a los radares. Por ejemplo, kayakistas en zonas brumosas utilizan reflectores de radar para evitar ser atropellado por barcos más
Carpeta cartón inteligente

Carpeta cartón inteligente

El embalaje de cartón de su luminaria de escritorio no pertenece siempre a la papelera. Imaginar su paquete de reciclaje reutilizando de forma agradable.Es lo que hice, en un desafío para Smurfit Kappa. Transformó la caja de cartón en una carpeta. Pe
Detalle tejido conducto cinta carteras Instructable

Detalle tejido conducto cinta carteras Instructable

sí, sí, es otra cinta instructable.¿Aburrido, correcto?La razón por la que estoy haciendo esto es que voy a intentar aglutinar conocimientos sobre construcción de todo tipo de carteras de cinta adhesiva y entrar en detalle en muchos aspectos, por lo