Paso 7: Placa de relé


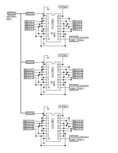
Yo uso para tener unas serie de 74HC164, paralelo a registros de cambio. He intentado algunos más por un lugar de electrónica local y dos años después en que todavía estoy esperando a entrar la orden. Singularidad geográfica o algo. Así que un día estaba mirando el diagrama del circuito para el 74hc164. Me di cuenta era similar al 74hc374 excepción tendría que ser algunos puentes para hacerlo funcionar correctamente. La parte cool de estos es que sólo toma dos I/O (reloj y datos) para controlar hasta ocho salidas!
Si usted toma más entonces un chip y unir todas las líneas de datos y sólo el reloj el que quieras tener respuesta se puede hacer aún más. Tengo 3 chips atados y 24 relés a costa de 4 I/O.
Eso me encanta!
El 74hc374 necesita 5 voltios para funcionar. He construido un circuito regulador con un regulador de voltaje 7805 y algunos otros componentes. Además se puede tomar la entrada de 12 voltios para la alimentación de los relés para ejecutar su regulador de 5 voltios.